Indledning

Dette dokument omhandler servicearkitekturen, der ligger bag deling af aftaler via NSP og giver et arkitekturoverblik over, hvorledes de forskellige forretningsservices på NSP interagerer i forbindelse med deling af aftaler.

De enkelte services dokumenteres ikke i forhold til f.eks. snitflader, men vil der findes henvisninger til dokumentation, hvor dette er relevant.

For beskrivelser af forretningsregler,  tekniske implementationsvejledninger og standarder, der gælder for deling af aftaler, henvises der til dokumentationen Et samlet patientoverblik > Aftaleoversigt

Ordliste

BetegnelseBeskrivelseYderligere dokumentation
XDSCross Enterprise Document Sharing (XDS) er en række IHE standarder, der specificerer, hvordan dokumenter (f.eks. CDA) deles mellem sundhedsorganisationer.https://wiki.ihe.net/index.php/Cross-Enterprise_Document_Sharing
IHE

CDA

ITI

AO Aftaleoversigt
DRSDokumentregistreringsservicehttps://www.nspop.dk/display/public/web/DRS+-+Guide+til+anvendere
DDSDokumentdelingsservicehttps://www.nspop.dk/display/public/web/DDS+-+Guide+til+anvendere

Arkitekturoverblik for aftaler

Grundlæggende faciliterer arkitekturen to overordnede metoder for aftaledeling:


Oprettelse, udlæsning, opdatering og sletning (CRUD) af aftaledokumenter via den nationale XDS infratruktur

På NSP stilles den nationale XDS infrastruktur til rådighed for anvenderne til deling af aftaler:

For en detaljeret gennemgang af de enkelte usecases henvises til dokumentet Et samlet patientoverblik > Aftaledeling > Teknisk implementeringsvejledning Aftaleoversigt.

Derudover henvises der til anvenderguides af disse NSP services:

DRS - Guide til anvendere

DDS - Guide til anvendere

Udlæsning af aftaler fra Bookplan i hhv Region Nord og Region Midt

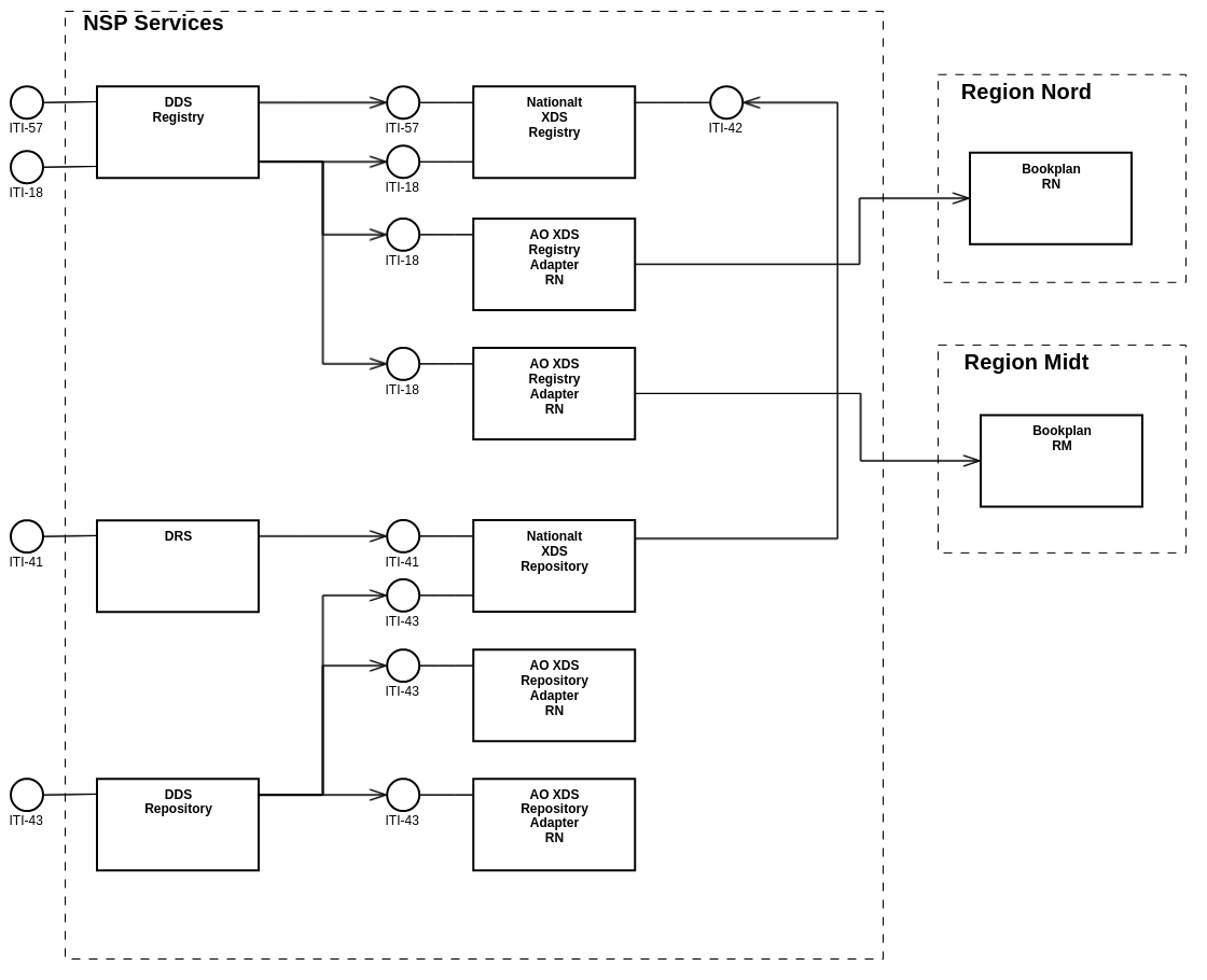
Udover de aftaler der deles via den nationale XDS infrastruktur, er der via integration til Bookplan i Region Nord og Region Midt lavet læseadgang for aftaler registreret i disse systemer. (Eva: kan vi evt skrive: er der etableret læseadgang for aftaler registreret i Bookplan via integration til  Region Nord og Region Midt). 

Som det fremgår af ovenstående diagram, delegeres en søgning, der kommer ind via DDS Registry både til det nationale XDS Registry og til to adaptere: AO XDS Registry Adapter RN og AO XDS Registry Adapter RM. Disse services er ansvarlige for at delegere søgninger videre til de to Bookplan instanser i Region Nord hhv. Region Midt.

I forbindelse med en søgning mod Bookplan genererer AO XDS Registry Adapter de relevante aftaledokumenter og tilhørende metadata. De genererede aftaledokumenter lægges i en cache, hvor de er klar til afhentning.

De konkrete "Bookplan-aftaler" kan efter en søgning hentes ved hjælpe af DDS Repository på samme måde som de aftaledokumenter, der deles via den nationale XDS infrastruktur. DDS Repository delegerer afhentningen af "Bookplan-aftaler" videre til AO XDS Repository Adapter RN hhv AO XDS Repository Adapter RM.

Til forskel fra aftaler, som deles via den nationale XDS infrastruktur, er der for "Bookplan-aftaler" tale om en ren læseadgang.

For en mere detaljeret gennemgang af AO XDS Adapters henvises til AO XDS Adapter - Guide til Anvendere

Dokumentdelingsservices ansvarsområder

DDS Registry og DDS Repository fungerer således som proxy'er for de bagvedliggende registries og repositories.

DDS Registry og DDS Repository samler svar fra de bagvedliggende komponenter i ét og tilbagesender det til anvenderen. For anvenderne af DDS Registry og DDS Repository er det derfor gennemsigtighed i forhold til, hvilke dokumenter der ligger i den nationale XDS infrastruktur og hvilke, der hentes via integrationssnitfladerne mod Bookplan.

Udover at videredelegere forespørgsler til bagvedliggende komponenter og samle svar, gør DDS følgende:

For en mere detaljeret gennemgang af Dokumentdelingsservicen henvises til DDS - Guide til anvendere