Version 1.0 september 2019


Produkt og testcase nummer 



Indledning

Produkt beskrivelse eller reference.

En angivelse af produkt eller pakke versionen.

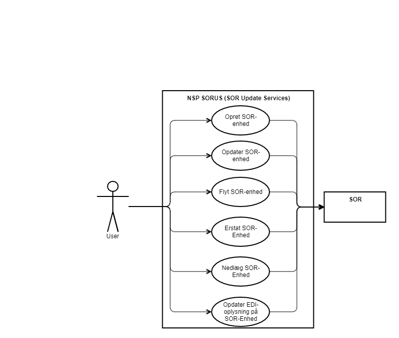
Kort beskrivelse af SORUS


Diagram over løsning

 


Testcases

NøgleProduktTestcaseLinkStatus



UC1 Opret ny enhed










Begreber og definitioner

Referencer eller beskrivelse