Introduktion
Formål
Læsevejledning
Definitioner og referencer
|
|
|---|
| NSP | National Service Platform |
| LAR |
|
| CAVE |
|
| FHIR |
|
| REST |
|
| DGWS | Den Gode WebService |
Introduktion til LAR
Løsningens opbygning
LAR er udviklet som en web applikation i henhold til Servlet specifikationen 2.5. Dette sikrer, at LAR kan afvikles på enhver Servlet Engine, der overholder denne specifikation - specielt på WildFly Application Server 8.2, der i øjeblikket anvendes på NSP.
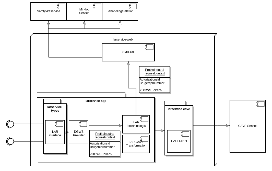
Løsningen er opbygget af et antal (Maven) moduler, der hver dækker et overordnet ansvarsområde i LAR:
- SMB-Util: Utilities, der indeholder klientkode, der kan anvendes fra LAR til kald af de eksterne NSP services, der anvendes af LAR: Samtykke, MinLog og behandlingsrelationsservice.
- Larservice-types: Har til ansvar at generere Java kode for LAR udfra dennes snitfladebeskrivelse (WSDL).
- Larservice-cave: Ansvar for at kalde den bagvedliggende CAVE (FHIR) REST service samt mapning mellem de typer, der anvendes i LAR snitfladen og den domænemodel, der eksponeres af den bagvedliggende CAVE (FHIR) REST service.
- Larservice-app: Forretningslogik, implementation af sikkerhedsprotokolen (DGWS) samt mapning af sikkerhedsprotokollens model og requestmodellen anvendt internt i LAR.
- Larservice-web: Modul, der samler de forgående moduler i en sammenhængende og eksekverbar (i f.eks. WildFly) WAR fil.
- Larservice-integrationstest: Integrationstests, der kan afvikles mod en kørende LAR service.
Overblik over løsningen
Der etableres med løsningen en webservice, som giver mulighed for opslag af lægemiddeloverfølsomhedsoplysninger for sundhedspersoner.
LAR indeholder yderligere en webservice, som giver mulighed for sundhedspersoner at registrere oplysninger vedr. lægemiddeloverfølsomhed for borgere.

Opslag af oplysninger om lægemiddeloverfølsomhed for en borger
Registrering af oplysning om lægemiddeloverfølsomhed for en borger
Designmålsætninger og -beslutninger