Nærværende dokument giver et overblik over stamdataservicen med fokus på design og arkitektur. Dokumentet har som formål at give et indblik i det underliggende design, de udstillede snitflader på det overordnede niveau samt særlige forhold vedrørende de udstillede registre. Både aftagere af stamdataservicen, udviklere, samt NSP operatør/driftsleverandør kan med fordel læse dette dokument.
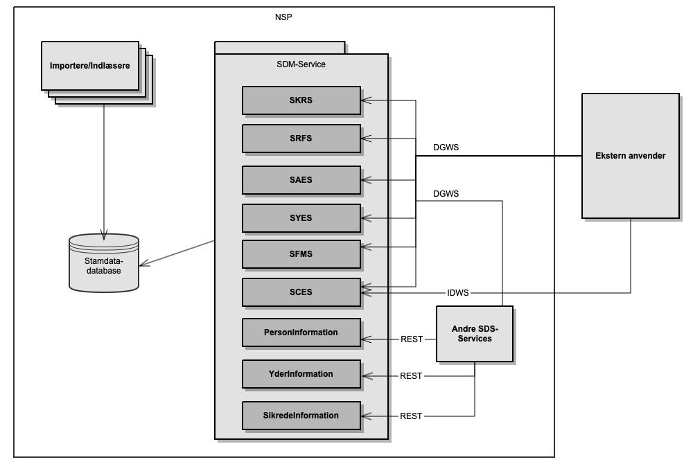
Stamdata modulet (SDM) er udstillet på NSP-platformen. Den indeholder seks webservices, som tilbyder data-adgang til forskellige registre (enkeltopslag og udtræk af registre).
De seks webservices er følgende:
De forskellige enkeltopslagsservices gør det muligt at fremsøge tilgængelig data på baggrund af et enkelt id.
Adgangen til data er beskyttet af sikkerhedsprotokollen Den Gode Webservice (DGWS) og adgangskontrol på basis af CVR-nummer.
For enkelt opslag i stamdata for CPR registret er der IDWS-snitflader, som muliggør borgeropslag på eget cpr-nummer.
Person-, yder- og sikredeinformation er ikke beskyttet af en sikkerhedsprotokol, da de er REST-services, der kun kan anvendes af komponenter på NSP'en.
I diagrammet nedenfor ses et arkitekturoverblik for Stamdata-servicen, med de forskellige services, som anvender data fra stamdata-databasen.
Databasen opdateres med registerdata af de forskellige importere og indlæsere. Yderligere dokumentation af de tilgængelige registerdata samt de tilhørende importere og indlæsere findes her: Stamdataregistre og tilhørende datatyper.
![]()
Stamdataregistret giver mulighed for dels enkeltopslag i de tilknyttede registre, dels mulighed for udtræk af hele registre til opbevaring og anvendelse i den lokale infrastruktur. Disse services beskrives i de følgende afsnit.
Kopiregisterservicen er en generel service, der gør det muligt for anvendere at hente og opretholde en kopi af et register, som f.eks. CPR-registret eller autorisationsregistret.
Servicen er en identitetsbaseret DGWS webservice.
<iframe src="https://archi.nspop.dk/NSP/570928ca/views/id-31f767ee-8add-438a-9594-ae9ffc74068d.html" name="test" height="490" width="800">You need a Frames Capable browser to view this content.</iframe> |
* Hver kasse i ovenstående diagram har en kort forklaring, som kommer frem i et nyt browservindue, når der klikkes på kassen.
Kopiregisterservicen giver dels mulighed for etableringsudtræk, hvor det komplette register leveres [2], dels såkaldte ”delta-opdateringer”, hvor ændringer i registret siden sidste udtræk leveres. De to typer udtræk er varianter af samme kald, hvor et etableringsudtræk leverer summen af samtlige ændringer i det pågældende registers levetid, og hvor et deltaudtræk leverer summen af ændringer siden sidste kald.
[2] Da registrene kan være af en størrelse, der gør det uhensigtsmæssigt at lave et komplet udtræk i et enkelt kald til KRS, gennemføres det komplette udtræk typisk ved en række på hinanden følgende kald. Dette er dog en teknisk detalje.

Figur 4 – Kopiregisterservicen udstiller snitflader til udtræk af registre
Servicen er generisk opbygget, hvilket gør det muligt at udtrække data fra et hvert register samt at foretage ændringer i den udstillede data uden at det kræver opdateringer af kopiregisterservicen. I anvenderguiden beskrives det, hvordan data hentes fra webservicen.
Til at styre hvilke klienter der har adgang til de respektive registre i Stamdata findes der en rettighedstabel. Tabellen opdateres af driftsoperatøren. Der henvises til driftsguiden for en detaljeret beskrivelse af rettighedstildeling.
<iframe src="https://archi.nspop.dk/NSP/570928ca/views/id-452715fc-8fab-4641-97ec-cbe43bb1b52d.html" name="test" height="570" width="800">You need a Frames Capable browser to view this content.</iframe> |
* Hver kasse i ovenstående diagram har en kort forklaring, som kommer frem i et nyt browservindue, når der klikkes på kassen.
Stamdata Registerfleropslagsservicen er ligesom kopiregisterservicen en generel service, der i stedet for udtræk af et helt register giver systemer mulighed for at lave opslag på udvalgte objekter ud fra deres id'er. F.eks. en række Person-objekter fra Person-registret ud fra deres CPR-nummer. Fleropslagsservicen følger samme struktur som SKRS, og der anvendes også samme rettighedstildeling som SKRS.
<iframe src="https://archi.nspop.dk/NSP/570928ca/views/id-dfd0f5fc79294e139bc60fb9b21f31e7.html" name="test" height="480" width="800">You need a Frames Capable browser to view this content.</iframe> |
* Hver kasse i ovenstående diagram har en kort forklaring, som kommer frem i et nyt browservindue, når der klikkes på kassen.
For udvalgte registre er der implementeret såkaldte enkeltopslagsservices, der, som navnet antyder, giver mulighed for opslag på enkeltregistreringer i de respektive registre. Alle enkeltopslagsservices implementeres som identitetsbaserede web services.
Figur 5 – Stamdataservicen udstiller snitflader til enkeltopslag for udvalgte registre
CPR Enkeltopslags Service (SCES):
Implementering af MedCom’s ”Det gode CPR-opslag”
Anvendelse kræver oprettelse på CVR-whitelist.
<iframe src="https://archi.nspop.dk/NSP/570928ca/views/id-0d89a1f6-c6c3-4842-9031-ff4a97f797ad.html" name="test" height="600" width="800">You need a Frames Capable browser to view this content.</iframe> |
* Hver kasse i ovenstående diagram har en kort forklaring, som kommer frem i et nyt browservindue, når der klikkes på kassen.
Autorisation Enkeltopslags Service (SAES):
Giver mulighed for verifikation af autorisationsnummer, f.eks. til brug fra SOSI STS eller administrative systemer ved ansættelse af sundhedsfagligt personale.
Anvendelse kræver oprettelse på CVR-whitelist.
<iframe src="https://archi.nspop.dk/NSP/570928ca/views/id-7c404571-98bf-474c-a0b5-8a1f1381eeb9.html" name="test" height="450" width="800">You need a Frames Capable browser to view this content.</iframe> |
* Hver kasse i ovenstående diagram har en kort forklaring, som kommer frem i et nyt browservindue, når der klikkes på kassen.
Yder Enkeltopslags Service (SYES):
Giver mulighed for opslag i yderregisret.
Anvendelse kræver oprettelse på CVR-whitelist.
<iframe src="https://archi.nspop.dk/NSP/570928ca/views/id-5ee46e6e-dff0-4dc4-a159-3ecfe62c6493.html" name="test" height="610" width="800">You need a Frames Capable browser to view this content.</iframe> |
* Hver kasse i ovenstående diagram har en kort forklaring, som kommer frem i et nyt browservindue, når der klikkes på kassen.
Udover de nævnte enkeltopslagsservices eksisterer der også en REST service kaldet personinformation. Denne service kan anvendes, af NSP komponenter, til at verificere en række ting omkring et CPR nummer. F.eks om det eksisterer eller personens status.
<iframe src="https://archi.nspop.dk/NSP/570928ca/views/id-4f41217466fb4845a2268fc11efeb008.html" name="test" height="430" width="800">You need a Frames Capable browser to view this content.</iframe> |
* Hver kasse i ovenstående diagram har en kort forklaring, som kommer frem i et nyt browservindue, når der klikkes på kassen.