Formålet med denne side er at beskrive, hvordan vi tester dokumentdeling gennem NSPs dokumentdelingsservice.
| Forkortelse | Beskrivelse |
|---|---|
| SUT | System Under Test |
| Kildesystem | System der leverer dokumenter til dokumentdelingsinfrastrukturen gennem DROS |
| Modtagersystem | System der søger og ehnter dokumenter i dokumentdelingsinfrastrukturen gennem DDS - DokumentDelingsServicen |
| Anvendersystem | En fælles betegnelse for kilde- og modtagersystemer. |
| SIT | SystemIntegrationsTest - se yderlige beskrivelse under |
| Nummer | Test type | Beskrivelse | Ansvarlig |
|---|---|---|---|
| 1 | Systemintegrationstest også kaldet Egen-Test | Her verificeres at der er en teknisk sammenhængende løsning mellem en anvender og NSP Dokumentregistrerings og Opdateringsservice (DROS). Der er en standard testprotokol for systemintegrationstest som altid skal køres. Den er forskellig for Kildesystem og Modtagersystem. | Projekt og Leverandør |
| 2 | Certificering | Der er en egentest og en livetest af at standarden overholdes indholdsmæssigt og metadata Udfyldes af Medcom | Medcom |
| 3 | E2E test | Her verificeres, at løsningen forretningsmæssigt fungerer efter hensigten på tværs af kildesystem(er) og modtagersystem(er). Der er retningslinier for, hvad E2E testen bør indeholde, men testcases vil typisk være defineret specifikt til projektet. E2E testen tester flowet i dokumentdelingen, samtykke- og frabedelser, behandlingsrelationsnotifikationer, rettigheder samt minlog registreringer. Aftales med Medcom hvornår vi laver E2E test. SDS oplæg er at det er hver gang en ny dokumenttype implementeres og først når både kilde- og modtagersystem er implementeret. Det skal drøftes i hvor høj grad vi vil lave E2E på nye kilder og nye modtagersystemer, - det er et ressourcespørgsmål. | Planlægges af projekt SDS-NSP TM deltager |
| 4 | Forretningsregel test | Det skal aftales som en del af projektet, hvornår og hvem der udfører forretningsregeltesten. Den kan foretages som en del af E2E og dele af den kan løbes igennem i EgenTesten. Forretningsreglerne løbes igennem på et møde mellem SDS/Arosii, Medcom og projektledelse, hvor det afgøres i hvilke testtyper forretningsreglerne behandles. Testcases for forretningsreglerne er dokumenteret her: Et Samlet Patient Overblik ESPO (aftaler, diagnoser, forløbsplaner, stamkort): Test af Et Samlet Patientoverblik Høremappe: Test af Høremappe Spørgeskemaer: Link mangler Hjemmemålinger: Link mangler Graviditetsmappe: Link mangler Indsæt link til både forretningsregler og test cases. Medcom: Er det forretningsregler for hjemmemålinger og spørgeskemaer? | Projekt |
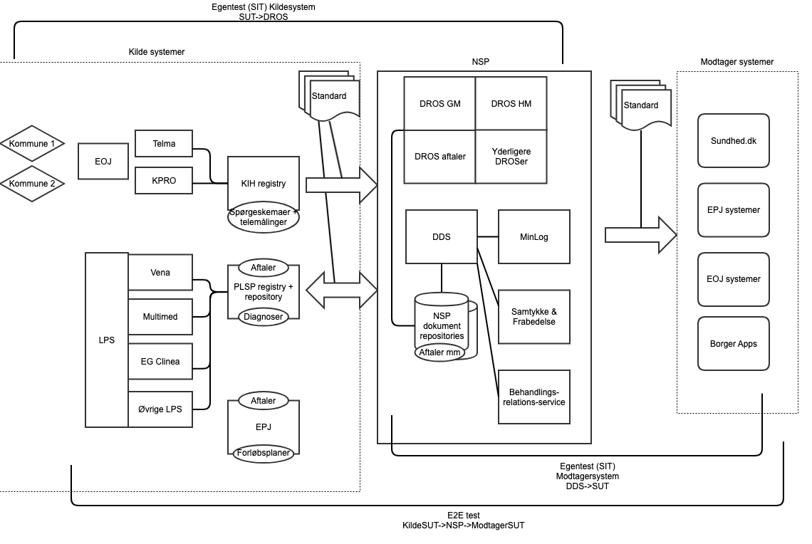
Dette viser ikke den fulde dokumentdelingsinfrastruktur, da mange systemer er involveret.
Dette er blot et udsnit for at illustrere test scope for henholdvist systemintegrationstest og E2E test.
![]()
Ansvarsfordeling mellem MEDCOM, SDS/Arosii, projekter og leverandører
R= Responsible (udførende på opgaven), A=Accountable (ansvarlig for at opgaven udføres), C=Consulted (konsulteret), I=Informed (Informeret)
| Aktivitet | SDS PO | SDS TM | Medcom | Projekt | Projektets leverandører |
|---|---|---|---|---|---|
| Systemintegrationstest | |||||
| Vedligeholdelse af checkliste til testprotokol | A | R | I | C | I |
| Systemintegrationstest / Egentest | I | C | A | R | |
| Certificering | |||||
| Planlægning af certificering | I | I | A | R | C |
| Testcase udarbejdelse til egentest og certificering | I | I | A/R | C | |
| Egentest (forberedelse til certificering) | A | R | R | ||
| Medcom Certificering Metadata | I | I | A/R | R | R |
| Medcom Certificering indhold | I | I | A/R | C | R |
| E2E test | |||||
| Vedligeholdelse af checkliste til testprotokol | A | R | C | C | |
| Planlægning af E2E | C | C | R | A | C |
| Test case udarbejdelse | A | R? | C | I | I |
| Test case eksekvering | A | C? | C | R | R |
| Test rapportering og dokumentation | I | R? | I | A | C |
| Tilbagemelding på test | I | R? | R? | A | I |
| Aktivitet | Deltagere |
|---|---|
| Planlægning af testforløb | Projektleder tager intitiativ Deltagere: Medcom, SDS, Arosii TM, relevante projektdeltagere |
| Test af forretningsregler | Afklaring af hvor i testprocessen de forskellige forretningsregler verificeres |
| Tilpasning af SIT/Egentest + E2E testprotokoller/checklister til konkret projekt | Projekt indkalder SDS PO og SDS TM til møde hvor testprotokollen for SIT gennemgås og tilpasses |