Formålet med denne side er at beskrive, hvordan vi tester dokumentdeling gennem NSPs dokumentdelingsservice.
| Nummer | Test type | Beskrivelse | Ansvarlig |
|---|---|---|---|
| 1 | Systemintegrationstest | Her verificeres at der er en teknisk sammenhængende løsning mellem en anvender og NSP. Der er en standard testprotokol for systemintegrationstest som altid skal køres. Der kan være tilføjelser til standardprotokollen. | Projekt |
| 2 | Certificering | Der er en egentest og en livetest af at standarden overholdes indholdsmæssigt og metadata | Medcom |
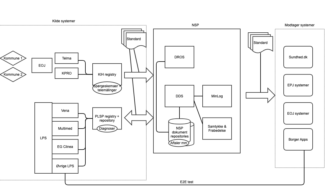
| 3 | E2E test | Her verificeres, at løsningen forretningsmæssigt fungerer efter hensigten på tværs af kildesystem(er) og modtagersystem(er). Der er retningslinier for hvad E2E testen bør indeholde, men testcases vil typisk være defineret specifikt til projektet. E2E testen tester flowet i dokumentdelingen, samtykke- og frabedelser, rettigheder samt minlog registreringer. | SDS |
| 4 | Forretningsregel test | Det skal aftales som en del af projektet hvornår og hvem der udfører forretningsregeltesten. Forretningsreglerne løbes igennem på et møde mellem SDS/Arosii, Medcom og projektledelse, hvor det afgøres i hvilke testtyper forretningsreglerne behandles | Projekt |
![]()
Ansvarsfordeling mellem MEDCOM, SDS/Arosii, projekter og leverandører
R= Responsible, A=Accountable, C=Consulted, I=Informed
| Aktivitet | SDS PO | Arosii TM | Medcom | Projekt | Leverandør |
|---|---|---|---|---|---|
| Systemintegrationstest | |||||
| Systemintegrationstest | I | C | A | R | |
| Certificering | |||||
| Planlægning af certificering | C | I | A | R | C |
| Testcase udarbejdelse til egentest og certificering | I | I | A/R | C | |
| Egentest (forberedelse til certificering) | A | R | R | ||
| Medcom Certificering Metadata | I | I | A | R | R |
| Medcom Certificering indhold | I | I | A/R | C | C |
| E2E test | |||||
| Planlægning af E2E | A? | C | R | C | C |
| Test case udarbejdelse | I | R | C | I | I |
| Test case eksekvering | A | R | C | R | R |
| Test rapportering og dokumentation | |||||
| Tilbagemeding på test |
| Aktivitet | Deltagere |
|---|---|
| Planlægning af testforløb | Projektleder tager intitiativ Deltagere: Medcom, SDS, Arosii TM, relevante projektdeltagere |
| Test af forretningsregler | Afklaring af hvor i testprocessen de forskellige forretningsregler verificeres |