Introduktion

Formål

Formålet med dette dokument er at beskrive de brugerhistorier (user stories) der understøttes af DROS.

Brugerhistorier er overordnede beskrivelser af funktionalitet og mål set fra brugeren/anvenderens synsvinkel. Brugerhistorierne er ikke beskrevet udfra en teknisk synsvinkel med udfra en forretningsmæssig brug af DROS.

For en teknisk gennemgang af de i dette dokument skitserede brugerhistorier henvises til DROS - Guide til anvendere.

Den første del af dokumentet beskriver de forskellige brugertyper/aktører af DROS.

Derefter listes de enkelte brugerhistorier med en overblikstegning, der viser, hvilke aktører, der optræder i de enkelte brugerhistorier.

Hver brugerhistorie gennemgås derefter - herunder en gennemgang af acceptkriterier. Der gives eksempler på konkrete instanser af brugerhistorien i form af scenarier.

Læsevejledning

Læseren af dette dokument kan være forretningskonsulenter og/eller arkitekter fra NSP anvenderorganisationer, der ønsker at vide, hvordan DROS kan anvendes til at opfylde forretningsmæssige behov.

Læseren forventes at være bekendt med dokumentdeling som koncept - herunder IHE XDS.

Brugertyper i DROS

I DROS arbejdes der med følgende brugertyper:

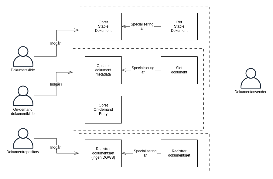
Overblik over brugerhistorier

I den følgende tegning vises et overblik over de enkelte brugerhistorier, og hvorledes disse relaterer sig til hinanden og til de ovenfor beskrevne brugertyper:

Brugerhistorier

I det følgende gennemgåes brugerhistorierne enkeltvis. Hver brugerhistorie beskrives med de acceptkriterier der hører til, og som skal være opfyldt for en succesfuld gennemførelse af brugerhistorien.

Hvor det er relevant gives konkrete eksempler på brugerhistorien i form af scenariebeskrivelse.

Brugerhistorie: Opret Stable Dokument

Som en dokumentkilde

ønsker jeg at uploade et stable dokument og tilhørende metadata

så jeg kan stille oplysningerne i dokumentet og tilhørende metadata til rådighed for dokumentanvendere

For en succesfuld gennemførelse af brugerhistorien skal følgende acceptkriterier være opfyldt:

  1. Dokumentkilden autentificerer sig med et gyldigt SOSI id kort på min niveau 3
  2. Systembrugeren er whitelistet til anvendelse af DROS
  3. Det uploaded dokument og tilhørende metadata accepteres af den bagvedliggende nationale XDS infrastruktur

Brugerhistorie: Ret Stable Dokument

Som en dokumentkilde

ønsker jeg at uploade et stable dokument og tilhørende metadata, hvor det fremgår, at dokumentet er en rettelse til et allerede eksisterende dokument

så jeg kan stille opdaterede oplysningerne i dokumentet og tilhørende metadata til rådighed for dokumentanvendere

For en succesfuld gennemførelse af brugerhistorien skal følgende acceptkriterier være opfyldt:

  1. Dokumentkilden autentificerer sig med et gyldigt SOSI id kort på min niveau 3
  2. Systembrugeren er whitelistet til anvendelse af DROS
  3. Det uploaded ny dokument og tilhørende metadata accepteres af den bagvedliggende nationale XDS infrastruktur

Brugerhistorie: Opdater Dokument Metadata

Som en dokumentkilde

ønsker jeg at opdatere metadata for en documententry

så jeg kan stille tilføjede og rettede oplysninger om et tidligere oprettet dokument til rådighed for dokumentanvendere

For en succesfuld gennemførelse af brugerhistorien skal følgende acceptkriterier være opfyldt:

  1. Dokumentkilden autentificerer sig med et gyldigt SOSI id kort på min niveau 3
  2. Systembrugeren er whitelistet til anvendelse af DROS
  3. Det rettede metadata accepteres af den bagvedliggende nationale XDS infrastruktur

Brugerhistorie: Slet dokument

Som en dokumentkilde

ønsker jeg at opdatere status for metadata for en documententry til at slettemarkere denne

så jeg kan gøre dokumentanvendre opmærksom på ukorrekte eller uaktuelle oplysninger

For en succesfuld gennemførelse af brugerhistorien skal følgende acceptkriterier være opfyldt:

  1. Dokumentkilden autentificerer sig med et gyldigt SOSI id kort på min niveau 3
  2. Systembrugeren er whitelistet til anvendelse af DROS
  3. Det rettede metadata accepteres af den bagvedliggende nationale XDS infrastruktur

Brugerhistorie: Opret On-demand Entry

Som en on-demand dokumentkilde

ønsker jeg at oprette en on-demand entry i det nationale registry

så jeg kan stille oplysningerne i mit on-demand dokument til rådighed for dokumentanvendere

For en succesfuld gennemførelse af brugerhistorien skal følgende acceptkriterier være opfyldt:

  1. On-demand dokumentkilden autentificerer sig med et gyldigt SOSI id kort på min niveau 3
  2. Systembrugeren er whitelistet til anvendelse af DROS
  3. Det registrerede metadata accepteres af den bagvedliggende nationale XDS infrastruktur

Brugerhistorie: Registrer Dokumentsæt (ingen DGWS)

Som en dokumentrepository

ønsker jeg at registrere metadata for et dokumentsæt

så jeg kan dokumentsættet til rådighed for dokumentanvendere

For en succesfuld gennemførelse af brugerhistorien skal følgende acceptkriterier være opfyldt:

  1. Dokumentrepositoriets IP adresse er whitelistet
  2. Systembrugeren er whitelistet til anvendelse af DROS
  3. Det registrerede metadata accepteres af den bagvedliggende nationale XDS infrastruktur

Brugerhistorie: Registrer Dokumentsæt

Som en dokumentrepository

ønsker jeg at registrere metadata for et dokumentsæt

så jeg kan dokumentsættet til rådighed for dokumentanvendere

For en succesfuld gennemførelse af brugerhistorien skal følgende acceptkriterier være opfyldt:

  1. Dokumentrepositoriet autentificerer sig med et gyldigt SOSI id kort på min niveau 3
  2. Systembrugeren er whitelistet til anvendelse af DROS
  3. Det registrerede metadata accepteres af den bagvedliggende nationale XDS infrastruktur