Indledning

Dette dokument handler om servicearkitekturen, der ligger bag deling af aftaler via NSP.

Dokumentet giver et arkitekturoverblik over, hvorledes de forskellige forretningsservices på NSP skal anvendes i forbindelse med deling af aftaler.

Dokumentet dokumenterer ikke de enkelte services i forhold til f.eks. snitflader, men vil henvise til relevant dokumentation for de involverede services.

Der henvises til dokumentationen Et samlet patientoverblik > Aftaleoversigt for en beskrivelser af forretningsregler,  tekniske implementationsvejledninger samt standarder, der gælder for deling af aftaler.

Ordliste

BetegnelseBeskrivelseYderligere dokumentation
XDSCross Enterprise Document Sharing (XDS) er en række IHE standarder, der specificerer, hvordan dokumenter (f.eks. CDA) deles mellem sundhedsorganisationer.https://wiki.ihe.net/index.php/Cross-Enterprise_Document_Sharing



Aftaledeling arkitekturoverblik

I det følgende gives et arkitekturoverblik over, hvilke forretningsservices på NSP, der er i spil i forbindelse med deling af aftaler.

Grundlæggende faciliterer arkitekturen to aspekter af aftaledeling:


Oprettelse, udlæsning, opdatering og sletning (CRUD) af aftaledokumenter via den nationale XDS infratruktur

På NSP stilles den nationale XDS infrastruktur til rådighed for anvenderne til deling af aftaler:

For en detaljeret gennemgang af de enkelte usecases henvises til dokumentet Et samlet patientoverblik > Aftaledeling > Teknisk implementeringsvejledning Aftaleoversigt.

Derudover henvises der til anvenderguides af disse NSP services:

DRS - Guide til anvendere

DDS - Guide til anvendere

Udlæsning af aftaler fra Bookplan i hhv Region Nord og Region Midt

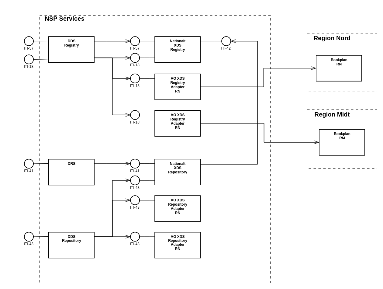
Udover de aftaler der deles via den nationale XDS infrastruktur som beskrevet ovenfor, der der via integration til Bookplan i Region Nord og Region Midt lavet læseadgang for aftaler registreret i disse systemer.

Som det fremgår af ovenstående diagram, så delegeres en søgning, der kommer ind via DDS Registry både til det nationale XDS Registry og til to adaptere: AO XDS Registry Adapter RN og AO XDS Registry Adapter RM. Disse services er ansvarlige for at delegere søgninger videre til de to Bookplan instanser i Region Nord hhv Region Midt.

I forbindelse med en søgning mod Bookplan genererer AO XDS Registry Adapter de relevante aftaledokumenter og tilhørende metadata. De genererede aftaledokumenter lægges i en cache, hvor de er klar til afhentning.

De konkrete "Bookplan-aftaler" kan efter en søgning hentes vha DDS Repository på samme måde som aftaler, der deles via den nationale XDS infrastruktur. DDS Repository delegerer afhentningen af "Bookplan-aftaler" videre til AO XDS Repository Adapter RN hh AO XDS Repository Adapter RM.

DDS Registry og DDS Repository fungerer som proxies for de bagvedliggende registries og repositories. DDS Registry og DDS Repository samler svar fra de bagvedliggende komponenter i et samlet svar, der sendes tilbage til anvenderen. For anvenderne af DDS Registry og DDS Repository er det derfor transperant, hvilke dokumenter, der ligger i den nationale XDS infrastruktur og hvilke der hentes ind via integrationssnitfladerne mod Bookplan.

Til forskel fra aftaler, som deles via den nationale XDS infrastruktur, er der for "Bookplan-aftaler" tale om en ren læseadgang.

For en mere detaljeret gennemgang af AO XDS Adapters henvises til AO XDS Adapter - Guide til Anvendere