Indhold
1 Introduktion
1.1 Formål
1.2 Læsevejledning
1.3 Dokumenthistorik
1.4 Definitioner og referencer
2 Overblik over tests
2.1 Unittest
2.2 Integrationstest (til verifikation af funktionalitet)
2.3 Performancetests
2.4 Endurance-tests
3 Afviklede tests
3.1 Unittest
3.2 Integrationstest til verifikation af funktionalitet
3.2.1 Forberedelse
3.2.2 Setup
3.2.3 Testdata
3.2.4 Testdesign
3.2.5 Gennemførelse af integrationstests
4 Generering af code coverage-rapporter
4.1 Code coverage for unittests
4.1.1 Code coverage for unittests
4.1.2 Code coverage for unittests og integrationstests
1. Introduktion
1.1. Formål
Formålet med nærværende dokument er at beskrive de tests, som er udviklet og afviklet forud for release af Svareksponeringsservice XDS-adaptere. Desuden beskrives generering af code coverage-rapporter.
1.2. Læsevejledning
Dokumentet henvender sig til udviklere og testere. Læseren forventes at have kendskab til Java software udvikling, herunder unittesting, med anvendelse af Maven og Wildfly applikationsserver.
1.3. Dokumenthistorik
|
Version |
Dato |
Ansvarlig |
Beskrivelse |
|---|---|---|---|
|
1.0 |
20.09.2016 |
Systematic |
Initiel udgave |
1.4. Definitioner og referencer
|
Definition |
Beskrivelse |
|---|---|
|
DDS |
Dokumentdelingsservice |
|
NSI |
National Sundheds-IT |
|
NSP |
Den nationale service platform (inden for sundheds-IT) |
|
XDS |
Cross-Enterprise Document Sharing |
|
Alias |
Beskrivelse |
|---|---|
|
Udviklerguide |
Guide til udviklere - Svareksponeringsservice XDS-adaptere, (SSE/11734/PHB/0045) |
|
Testrapport |
Testrapport Svareksponeringsservice XDS-adaptere, (SSE/11734/TRP/0108) |
|
Konfiguration |
Konfiguration af Svareksponeringsservice XDS-adaptere, (SSE/11734/NOT/0056) |
2. Overblik over tests
Følgende beskriver de forskellige tests og hvorvidt de er forberedt og gennemført ved release af Svareksponeringsservice XDS-adaptere.
2.1. Unittest
Automatiserede unittests, der verificerer funktionalitet på klasse- eller komponentniveau, er tilgængelige jævnt over kodebasen og udføres, medmindre eksplicit frabedt, ved hvert byg af softwaren.
2.2. Integrationstest (til verifikation af funktionalitet)
Automatiserede integrationstests, der verificerer både adfærd og brug af snitflader i setup, hvor Svareksponeringsservice XDS-adaptere er integreret med andre services, er tilgængelige. Integrationstestene kræver øvrige services for at kunne afvikles, hvilket er beskrevet i efterfølgende afsnit tillige med testdata og afvikling.
2.3. Performancetests
Performancetests verificerer at servicen performer med hensyn til svartider og/eller er stabil under et specifikt load, som i nogle tilfælde kan anvendes med samme mål som integrationstests.
Der er ikke forberedt eller kørt performancetest for Svareksponeringsservice XDS-adaptere.
2.4. Endurance-tests
Endurance-tests verificerer at servicen fungerer under længerevarende belastning og ikke lider under f.eks. memory leaks.
Der er ikke forberedt eller gennemført endurance-test for Svareksponeringsservice XDS-adaptere.
3. Afviklede tests
Følgende tests er afviklet som en del af komponentudviklingen og i forbindelse med release. Der henvises til \[Testrapport\] for fastholdelse af resultaterne fra gennemførte tests ifm. release.
3.1. Unittest
Unittests ligger i:
- *\src\test\java*
under de forskellige maven-artefakter, der indgår i Svareksponeringsservice XDS-adaptere. Resultatet af kørte tests opsummeres ved byg, beskrevet i \[Udviklerguide\].
3.2. Integrationstest til verifikation af funktionalitet
Integrationstestene til Svareksponeringsservice XDS-adaptere verificerer, at der kan laves opslag af metadata og indhentning af dokument, når komponenterne i Svareksponeringsservice XDS-adaptere er integreret med Dokumentdelingsservicen og det backend-system, der leverer information om patienters prøvesvar.
Integrationstestene er baseret på en test-klient til Dokumentdelingsservicen skabt som automatiserede junit-tests, der anvender DDS-anvenderbiblioteket, der er en samling maven-artefakter skabt i regi af Dokumentdelingsservicen.
Følgende integrationstest demonstrerer adfærd ved timeout og utilgængelighed, hvilket kræver omkonfiguration inden kørsel (se herunder):
- integrationtest\src\test\java\dk\nsi\dds\projects\sxa\integrationtest\SxaConfigurationChangeIT.java
3.2.1. Forberedelse
Der skal på Wildfly være deployeret:
- Dokumentdelingsservices (og dennes afhængigheder til øvrige services, se herunder).
- Svareksponeringsservice XDS-adaptere
I stamdata skal testbruger være defineret som testperson med autorisationsnr.
Testbrugeren skal være whitelistet til at anvende dokumentdelingsservicen, se afsnit 3.2.3.
Der skal være etableret forbindelse til backend-systemet, hvilket potentielt indebærer oprettelse af laboratoriesvar i Laboratoriedatabanken.
Dokumentdelingsservicen skal være konfigureret til at anvende Svareksponeringsservice XDS-adaptere, som beskrevet i \[Konfiguration\].
3.2.2. Setup
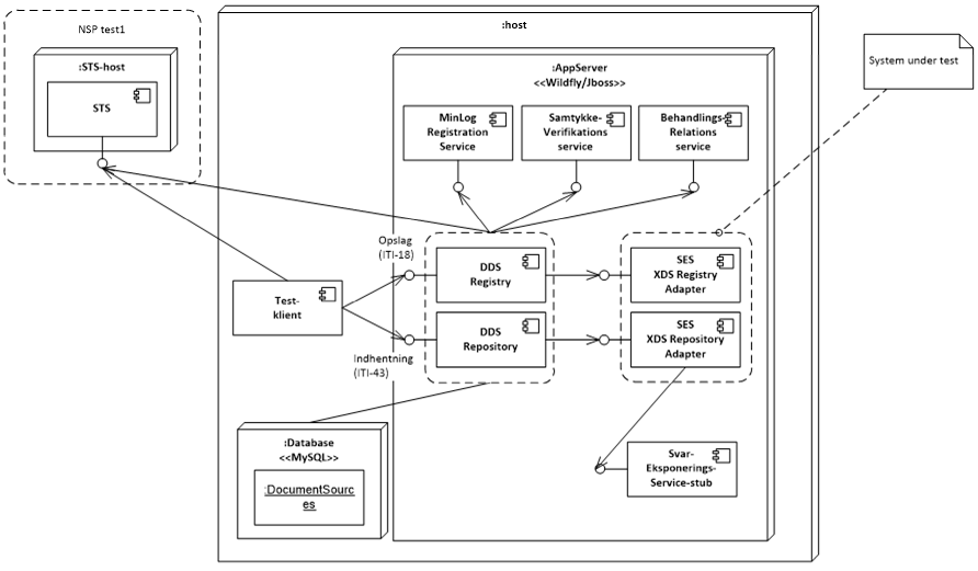
I Figur 1 er vist et setup til integrationstests baseret på en stub for Svareksponerneringsservicen.
Bemærk, at test-klientens tests fungerer uafhængigt af, hvordan de forskellige services er deployeret, hvorfor en vanlig opsætning af Dokumentdelingsservicen i NSP test1-miljø el. lign. kan anvendes.
Figur 1 Setup af services for afvikling af integrationstests for Svareksponeringsservice XDS-adaptere med lokalt deployerede adaptere og stub for Svareksponeringsservicen.
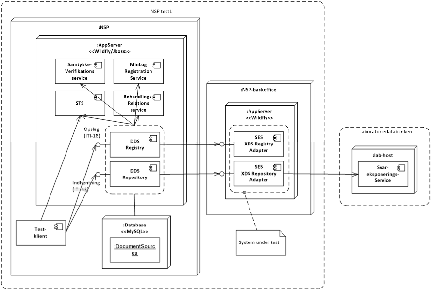
Under forudsætning af, at der findes testdata for testpatienter som beskrevet i afsnit 3.2.3, kan der alternativt køres integrationstests mod Svareksponeringsservice XDS Adaptere deployeret ved brug af Svareksponeringsservice hos Laboratoriedatabanken. Dette setup er vist i Figur 2.
Figur 2 Setup af services for afvikling af integrationstests for Svareksponeringsservice XDS-adaptere mod Svareksponeringsservice hos Laboratoriedatabanken.
3.2.3. Testdata
Testklienten benytter et test-medarbejdercertifikat (MOCES) hentet fra et maven-artefakt etableret i regi af NSI, hvor organisationen bag er whitelistet til at benytte Dokumentdelingsservicen.
I testklienten er med property-fil konfigureret brug af følgende test-bruger, der er oprettet som testperson med autorisationsnummer i testmiljøets stamdata, f.eks. på NSP-miljø test1:
Læge Karl Hoffmann Svendsen, aut.reg.nr. NS362.
I testklienten er hardcoded anvendelse af følgende testpatienter:
|
Cpr-nummer for testpatient |
Beskrivelse |
|---|---|
|
2512484916 |
Cpr-nummer for testpatient med data i backend-systemet |
|
0101010101 |
Cpr-nummer for testpatient uden data i backend-systemet |
Tabel 1 Id for testpatienter, der benyttes af tests.
3.2.4. Testdesign
Integrationstests, der verificerer Svareksponeringsservice XDS-adaptere ved at kalde Dokumentdelingsservicens snitflader, findes i filer under folderen integrationtest\src\test\java\dk\nsi\dds\projects\sxa\integrationtest.
Disse verificerer følgende (for detaljer henvises til filer under nævnte folder) ved positive tests:
- At der returneres dokumentmetadata for Svareksponeringsservice XDS-adaptere ved opslag på testpatient på Dokumentdelingsservicen ved anvendelse af søgeparametre specifikke for laboratoriesvarsdokumenter
- At fremfundne dokumentmetadata for laboratoriesvarsdokument afspejler kombinationer af start- og stop-tidspunkter i søgeparametre
- At der returneres laboratoriesvarsdokument med tomt resultat-afsnit ved indhentning af dokument på Dokumentdelingsservicen for testpatient uden data i backend-systemet
- At der returneres laboratoriesvarsdokument indeholdende laboratoriesvar ved indhentning af dokument på Dokumentdelingsservicen for testpatient med data i backend-systemet
- At der returneres laboratoriesvarsdokument med tomt laboratoriesvars-afsnit ved indhentning af dokument på Dokumentdelingsservicen for testpatient med data i backend-systemet, når dette sker baseret på søgning med periode, hvor der ikke er taget prøver.
Integrationstestene verificerer følgende (for detaljer henvises til filer under nævnte folder) ved negative tests:
- At der ikke returneres dokumentmetadata for laboratoriesvarsdokument, når opslag på testpatient på Dokumentdelingsservicen sker uden anvendelse af søgeparametre specifikke for laboratoriesvarsdokument.
3.2.5. Gennemførelse af integrationstests
Inden kørsel af integrationstests skal etableres en property-fil, der beskriver endpoints for eksterne systemer mm. Som skabelon anvendes property-filen:
- <component base>/integrationtest\src\test\resources\testclient.properties
Denne kan kopieres og tilpasses til aktuelt miljø. Efterfølgende Maven-kommandoer gør brug af tilpassede property-fil gennem argumentet:
-Dtestclient-property-file=<sti til tilpasset testclient.properties>
Er argumentet ikke anført benytter Maven-scripts den oprindelige property-fil.
Integrationstests gennemføres ved at udføre maven-kommando:
mvn verify –Pexternal-test \ -Dtestclient-property-file=<sti til tilpasset testclient.properties>
Integrationstestene understøttes kun ved brug af Svareksponeringsservice stubben "labreportservicestub".
Bemærk, at visse integrationstests kræver konfigurationsændringer og derfor er sat til ignored. Disse kan, efter konfigurationsændring som beskrevet i deres javadoc, køres selvstændigt ved at udkommentere ignore og tilføje argument –Dit.test=<testklasse-navn> til ovenstående maven-kommando.
4. Generering af code coverage-rapporter
Code coverage kontrolleres ved brug af Cobertura, som foreslået af NSP Husregler (for leverandører). Code coverage-rapporter fra et release er fastholdt i tilhørende [Testrapport].
4.1. Code coverage for unittests
Code coverage analyse er foretaget i projektet med anvendelse af Maven Cobertura plugin.
4.1.1. Code coverage for unittests
Code coverage-rapport omfattende alene unittests genereres ved at gennemføre følgende trin:
- I kommandoprompt i SXA hovedfolder (folderen med parent pom) udføres:
mvn clean site cobertura:cobertura
- Genereret code coverage-rapport kan nu læses i folderen target/site/cobertura
4.1.2. Code coverage for unittests og integrationstests
En samlet code coverage-rapport omfattende både unittests og integrationstests kan genereres ved forberedelse og gennemførsel af trin beskrevet i det efterfølgende.
4.1.2.1. Forberedelse
Cobertura skal installeres på WildFly og Ant installeres mhp. anvendelse ved fletning af code coverage-rapporter fra unittest og integrationstests.
De anvendte versioner er:
- Cobertura 2.1.1
- Ant 1.9.4
Trin:
- Cobertura etableres, ved enten:
- Download fra fx sourceforge (https://sourceforge.net/projects/cobertura/) og udpakning
- Kildekode hentes fra https://github.com/cobertura/cobertura/releases og bygges
- Ant installeres
- Download fra http://archive.apache.org/dist/ant/binaries/apache-ant-1.9.4-bin.tar.gz
-
I Ant's lib folder bør følgende jars være tilgængelige
Jar
Fremskaffelse
asm-5.0.1.jar
Indeholdende i Cobertura-2.1.1-bin-tar
asm-analysis-5.0.1.jar
Indeholdende i Cobertura-2.1.1-bin-tar
asm-commons-5.0.1.jar
Indeholdende i Cobertura-2.1.1-bin-tar
asm-tree-5.0.1.jar
Indeholdende i Cobertura-2.1.1-bin-tar
asm-util-5.0.1.jar
Indeholdende i Cobertura-2.1.1-bin-tar
cobertura-2.1.1.jar
Indeholdende i Cobertura-2.1.1-bin-tar
commons-lang3-3.3.2.jar
Indeholdende i Cobertura-2.1.1-bin-tar
oro-2.0.8.jar
Indeholdende i Cobertura-2.1.1-bin-tar
slf4j-api-1.7.5.jar
Indeholdende i Cobertura-2.1.1-bin-tar
slf4j-log4j12-1.6.4.jar
Bør være i lokal m2 folder
log4j-1.2.16.jar
Bør være i lokal m2 folder
- Installation af Cobertura modul på WildFly:
-
Følgende Cobertura afhængigheder kopieres fra cobertura-2.1.1-bin.tar.gz til <wildfly folder>/modules/net/sourceforge/cobertura/main
Jar
Destination
<arkiv>/cobertura-2.1.1.jar
<modul-main>/
<arkiv>/lib/asm-tree-5.0.1.jar
<modul-main>/lib/
<arkiv>/lib/asm-commons-5.0.1.jar
<modul-main>/lib/
<arkiv>/lib/asm-util-5.0.1.jar
<modul-main>/lib/
<arkiv>/lib/asm-analysis-5.0.1.jar
<modul-main>/lib/
<arkiv>/lib/oro-2.0.8.jar
<modul-main>/lib/
-
En module.xml fil skabes i samme main mappe med følgende indhold:
<?xml version="1.0" encoding="UTF-8"?> <module xmlns="urn:jboss:module:1.1" name="net.sourceforge.cobertura"> <resources> <resource-root path="."/> <resource-root path="cobertura-2.1.1.jar"/> <resource-root path="lib/asm-tree-5.0.1.jar"/> <resource-root path="lib/asm-commons-5.0.1.jar"/> <resource-root path="lib/asm-util-5.0.1.jar"/> <resource-root path="lib/asm-analysis-5.0.1.jar"/> <resource-root path="lib/oro-2.0.8.jar"/> </resources> <dependencies> <module name="asm.asm" /> <module name="javax.servlet.api" /> <module name="org.slf4j" /> </dependencies> </module> -
Default udskrives coveragefilen (cobertura.ser) i <wildfly folder>/bin mappen. Ønskes filen udskrevet til en anden mappe skabes filen cobertura.properties i main mappen med indeholdet:
net.sourceforge.cobertura.datafile=<sti>/cobertura.ser
-
For at få Cobertura til at skrive coverage af integrationstests, er der to muligheder:
Metode
Installation og brug
coberturaFlush.war servicen
- coberturaFlush.war er at finde i Cobertura-2.1.1-bin-tar
-
Før kopiering til <WildFly>/standalone/deployments skal følgende linje tilføjes til coberturaFlush.war/META-INF/MANIFEST.MF:
Dependencies: net.sourceforge.cobertura
- Efter ændring deployeres coberturaFlush.war og servicen udstiller ”<host>/coberturaFlush/flushCobertura”. Kald til denne service ved f.eks. Curl får Cobertura til at skrive coverage filen. (Se trin 3.3).
Genstart af WildFly - Cobertura skriver automatisk coverage fil ved genstart af WildFly
- Denne mulighed kræver følgende ændring i <wildfly folder>/bin/standalone.conf med tilføjelse af:
JAVA_OPTS="$JAVA_OPTS -Djboss.shutdown.forceHalt=false"
Bemærk at når WildFly startes med instrumenteret kode, da startes "optagelse" af code coverage. Ved kald til coberturaFlush servicen skabes et billede af hvordan coverage ser ud nu. Dette billede skrives til <wildfly>/bin/cobertura.ser, hvor filen bliver additivt opdateret, hvis filen findes i forvejen, eller skabes, hvis den ikke findes. "Optagelse" af code coverage bliver først reset ved genstart af WildFly og fjernelse af <wildfly>/bin/cobertura.ser.
- Genstart af WildFly
-
4.1.2.2. Gennemførelse
Code coverage-rapport omfattende både unittests og integrationstests genereres ved at gennemføre følgende trin:
- Kontroller, at wildfly bruger-account kan skrive cobertura.ser filen i output folderen (Standard <wildfly>/bin/cobertura.ser eller bestemmes i cobertura.properties)
- Kontroller, at stien til cobertura.ser er korrekt i filen cobertura/src/main/coberturaScripts/cobertura.properties under SXA-projektets hovedfolder.
-
Coberturas instrumentering af koden sker ved udførsel af følgende i kommandoprompt i SXA-projektets hovedfolder (folderen med parent pom):
mvn clean install -Dcobertura-build \ -Pdeploy-to-appserver \ -Denvironment-property-file=<sti til tilpasset environment.properties>
Bemærk, at argumentet –Pdeploy-to-appserver aktiverer en maven-profil, der kopierer ear/war-filer til WildFly deployment folder vha. properties. Som alternativ til dette argument kan ear/war-filer deployeres manuelt.
- Gen-deployer SXA-projektets services på WildFly
-
I samme folder udføres integrationstestene ved:
mvn verify –Pexternal-test __ -Denvironment-property-file=<sti til tilpasset environment.properties> \ -Dtestclient-property-file=<sti til tilpasset testclient.properties>
- Afslutning af coberturas optagelse gennemføres ved enten:
- Shutdown af WildFly, eller
- At åbne siden http://<host:port>/coberturaFlush/flushCobertura (fx via curl eller i browser. Bemærk at dette forudsætter at filen coberturaFlush.war blev kopieret og deployeret)
-
Flet code coverage-rapporter ved i kommandoprompt i SXA hovedfolder at udføre:
cd cobertura/target/coberturaReporting-coberturaReporting ant –f cobertura.xml create-report
- Genereret code coverage-rapport kan nu læses i folderen cobertura/target/coberturaReporting-coberturaReporting/report

